廠名:東莞市螺盛盾五金科技有限公司
地 址:大朗鎮松木山村祥榮路49號A1棟1樓1號
網 址:www.so-fix.com
郵 箱:xiaoming@so-fix.com
郵 編:523000
電 話:0769-82913668
螺盛盾廠家推出鈑金薄板專用壓鉚螺母柱,值得選購!
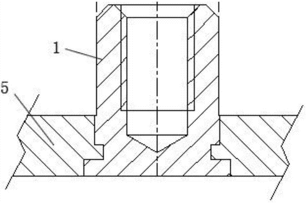
發布人:xiaonana 發布時間:2019/12/6 11:45:34 次瀏覽在鈑金和鋁型材加工中需要用到很多壓鉚螺母柱。但現有的壓鉚螺母柱在壓鉚時與被壓板材間一般都采用間隙配合,這種配合對一般要求的壓鉚是沒有影響的,但對表面質量要求很高的鋁型材,尤其是噴漆鋁型材會有一定影響,一是由于鋁型材上的壓鉚底孔一般在普通沖床上加工,這樣會產生一個帶喇叭的錐孔,這樣更加加大了壓鉚螺母柱之間的間隙,使相互的包緊力更小,造成有的鋁型材組件在裝螺釘時壓鉚螺母柱松動,造成表面質量不合格,因此,我們需要一種能減少與鋁型材壓鉚底孔的配合間隙的壓鉚螺母柱,以增加壓鉚螺母柱與鋁型材孔之間的包緊力。
針對上述存在的問題,提供一種壓鉚螺母柱,減少與鋁型材壓鉚底孔的配合間隙,以增加壓鉚螺母柱與鋁型材孔之間的包緊力。東莞螺盛盾廠家所采用的技術方案是:一種壓鉚螺母柱,包括圓柱本體,圓柱本體設有內螺紋,其一端為六角邊,六角邊與圓柱本體的連接處設有環形的退刀槽,其特征在于,所述圓柱本體的外周面上設有臺階部,所述臺階部為外凸式臺階,臺階部的外徑與壓鉚件底孔的孔徑相配置,形成過渡配合。
按上述方案,所述臺階部的高度小于或等于壓鉚件的厚度。壓鉚螺母柱,減少與鋁型材壓鉚底孔的配合間隙,由間隙配合變成過渡配合,增加壓鉚螺母柱的包緊力,使其在裝螺釘時能抵抗更大的裝配沖擊力和扭力,保證壓鉚螺母柱不松動,適用于表面質量要求高的噴漆鋁型材面板領域。
東莞市螺盛盾五金科技有限公司為用戶提供質量信得過的壓鉚螺母柱,并以高品質的壓鉚螺母柱、壓鉚螺母、壓鉚螺釘系列等產品和周到的服務得到廣大用戶的肯定。

客服1
0769-89388906
