新聞資訊
聯系我們
廠名:東莞市螺盛盾五金科技有限公司
地 址:大朗鎮松木山村祥榮路49號A1棟1樓1號
網 址:www.so-fix.com
郵 箱:xiaoming@so-fix.com
郵 編:523000
電 話:0769-82913668
螺盛盾,鈑金加工數控折彎工藝實現形狀多樣化!
發布人:xiaonana 發布時間:2019/12/30 14:09:33 次瀏覽
鈑金加工過程中通常在落料完成后,進入下道工序,不同的工件依據加工的請求進入相應的工序。有折彎,壓鉚(壓鉚螺母、壓鉚螺柱),翻邊攻絲,點焊, 打凸包,段差,有時在折彎一兩道后要將螺母或螺柱壓好,其中有模具打凸包和段差的中央要思索先加工,以免其它工序先加工后會發作干預 ,不能完成需求的加工。在上蓋或下殼上有卡勾時,如折彎后不能碰焊要在折彎之前加工好。
螺盛盾小螺今天與大家分析數控折彎工藝:
折彎機的主要參數是:壓力,工作臺長。
1. 折彎刀的主要類型如下圖(1):
直刀一般優先用于只折一道彎并不用考慮避位的彎折,見圖(2):
而圖(3)右側的情況就要選用尖刀來避位了,但同時也要注意,由于尖刀的頭很尖,所以它的強度比較差,所以它不能用于厚板的折彎,一般1.5mm以上的板厚都不使用尖刀,而在工藝安排上,再想辦法,例如把壓鉚螺母工藝安排在折彎以后等。見圖(5)
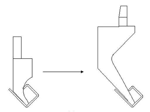
也有這樣的情況,當小彎刀也無法避位時,就要選用大彎刀來避位,如圖(6)

但有時也會出現大彎刀也無法避位,那就要需增加工藝:先在折彎線上壓一條印——如圖(7),

為了更好的折彎,可此道折彎先折到一定角度,避免碰刀,然后在把邊壓至90度——如圖(8),

而一般情況,壓印工藝可以應用到折彎不能一次完成,這樣當第二次折彎時,折彎線能更好按原來折彎印成型,否則容易出現二次折彎而造成折彎偏位,或折彎角度控制不好的現象。
所以在設計的過程中也要考慮這樣的問題,在滿足要求的情況盡量避免出現采用這樣的工藝,因為這樣沒有直接折彎的效果好,而且尺寸和角度都可能有偏差。
折彎機還可以用于工件壓死邊,先把工件折彎到30度,再用平刀把工件壓死,但一般可用普通沖床完成的壓死邊盡量不安排到折彎機,因為沖床壓死邊的效果相對比較好點。
在折彎過程中除了工件與折彎刀干涉,當工件的尺寸比較大時還可能會出現折彎時與折彎機干涉。
在我們安排工藝的時候,很多時候都要考慮是否好折彎,能否折彎的問題,因為折彎是一個很重要的工藝,折彎是否好操作直接影響到折彎質量的保證,而很多時候出現的質量問題都是出自于折彎尺寸沒有控制好,所以在設計的過程中也要特別關注折彎的問題,這個關系到產品量產時質量的穩定性。
對于不同板厚,它的折彎尺寸都是有限度的,不能過小,一般多與下刀模有關系,一般的原則是:下刀模選取板厚6倍的刀槽,這樣折彎系數與經驗值最符合。一般刀槽的分類按刀槽的外寬分如圖(9),

分別是6號和10號槽,但選用夠小的刀槽折彎時,很容易出現壓痕,一般6號槽以下的壓痕都比較明顯,所以當工件表面不處理時,當折彎邊比較小時,有明顯的壓痕,一來影響外觀,二來容易生銹,所以在設計時要注意。
在實際的折彎過程中還會遇到各種各樣的問題,很多時候還要考慮到折彎對別的工藝的影響,很多時候還要具體問題具體分析,適當的安排工藝。同時,在一些特殊需要的情況下,供應商也會制造特殊的折彎刀,但如果刀具的形狀越怪或者彎度越大,必然影響到刀具的剛性,縮短刀具壽命。
上一篇:壓鉚螺母、拉鉚螺母緊固件常見五種清洗劑
下一篇:已經是最后一篇了

客服1
0769-89388906
